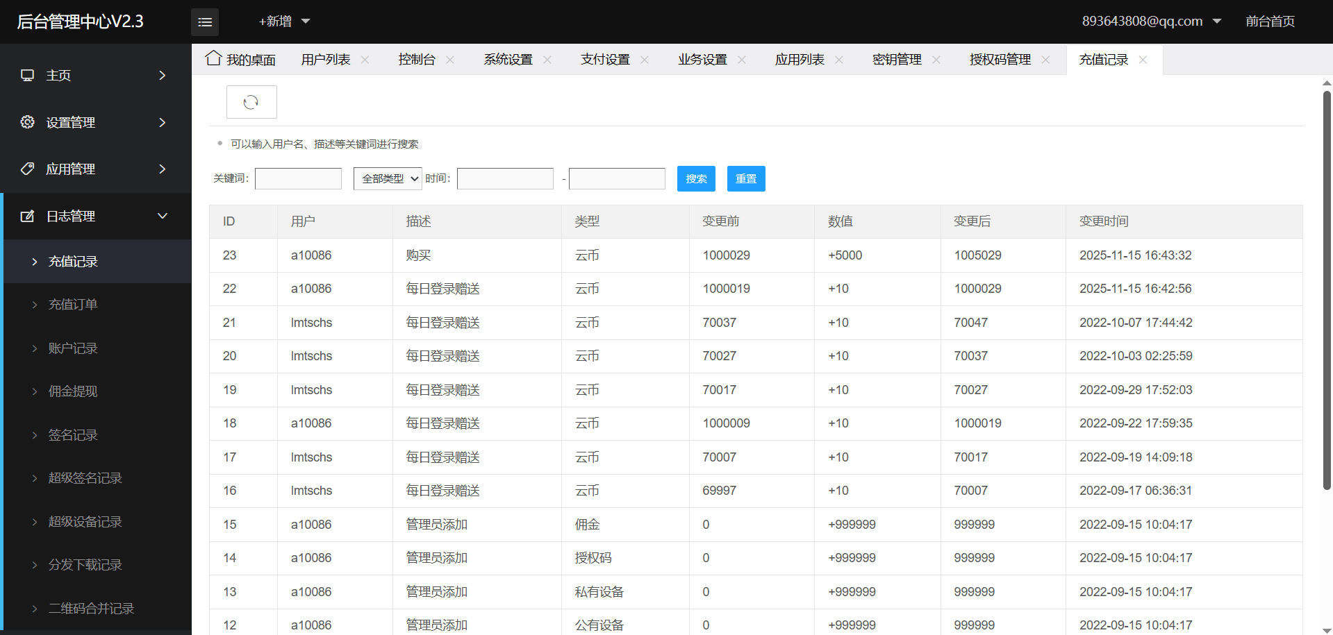
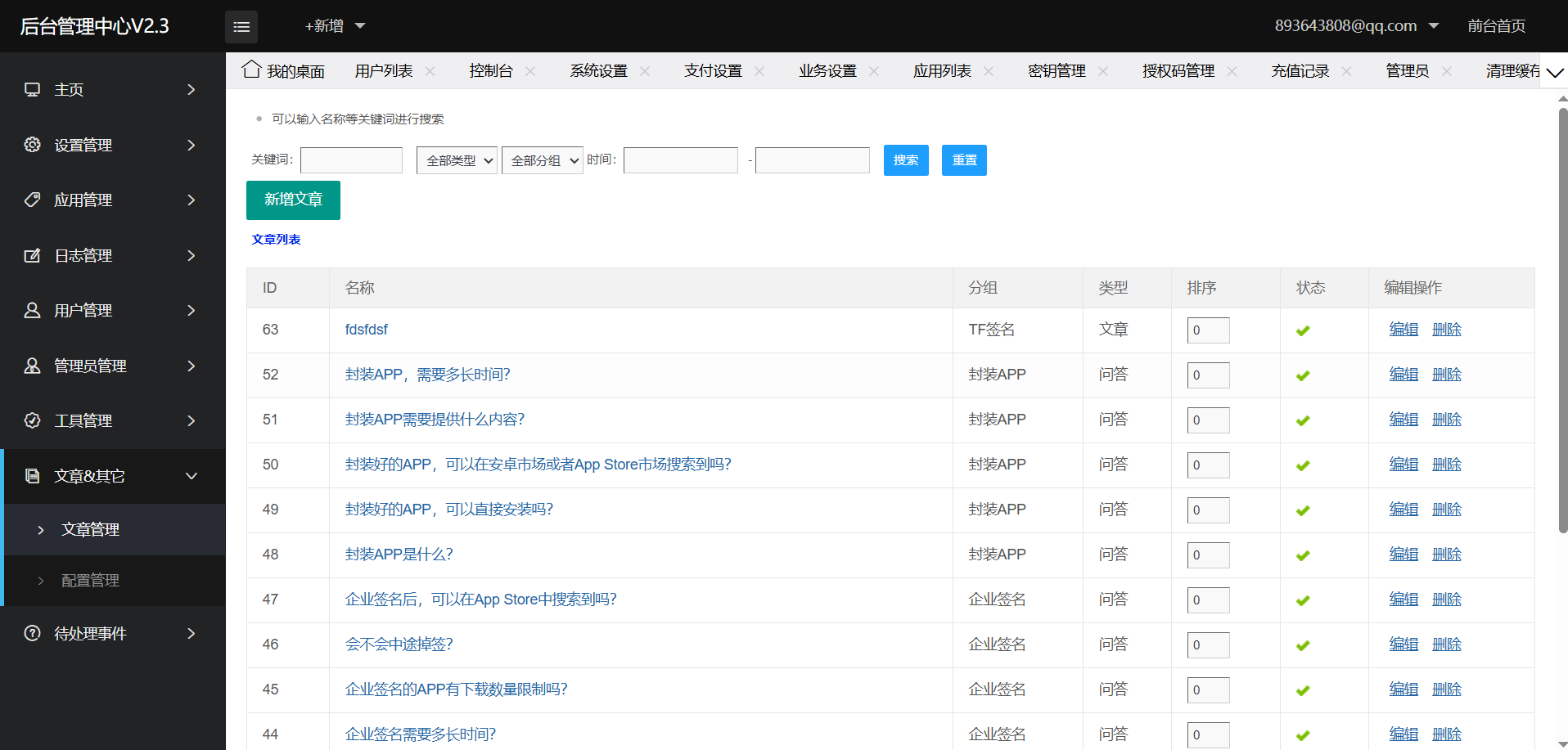
APP分发系统源码/全开源超级签名/苹果安卓APP打包/附带部署文档 声明:本站所有文章,如无特殊说明或标注,均为本站原创发布。任何个人或组织,在未征得本站同意时,禁止复制、盗用、采集、发布本站内容到任何网站、书籍等各类媒体平台。如若本站内容侵犯了原著者的合法权益,可联系我们进行处理。
区块链精品源码 精品源码 海外8国语言交易所/币币/投资理财/合约/绿色能源/代理/机器人/前端带uipapp源码 亲测k线正常,结算正常 源码前后开源,前端是uipapp 6 月前 0 0 61 6800
置顶 VIP 商城淘客精品源码区 精品源码 海外亚马逊/沃尔玛/刷单/抢单系统/订单自动匹配系统/海外源码 海外亚马逊/沃尔玛/刷单/抢单系统/订单自动匹配系统/海外源码 源码前后开源 5 月前 0 0 28 2800
博彩源码 精品源码 五国语言/彩票源码/PC28源码/赛车飞艇/时时彩平台/加拿大28/比特28预测/彩票机器人/预设开奖/佣金模式/带开奖视频/完美运营 五国语言、加拿大28、比特28、幸运飞艇、澳洲10、168极速赛车、168极速飞... 10 月前 0 0 246 4888
置顶 VIP 电子游戏源码 精品源码 【运营版本】第五代天天捕鱼全套源码cocos creator+ts街机捕鱼源码 第五代天天捕鱼全套源码cocos creator+ts街机捕鱼源码 6 月前 0 0 88 4000